久不露面的李亚鹏又成了媒体关注的焦点。

资料图(图片来源:视觉中国)
10月30日,每经小编查询中国执行信息公开网后发现,一位与演员李亚鹏同名的人被列为被执行人。
信息显示该被执行人李亚鹏为男性,1971年生人,这一出生日期与演员利亚鹏的出生日期相吻合。信息还显示立案时间为2018年4月9日,被执行法院为北京市朝阳人民法院,案号为(2018)京0105执7240号。

据新京报报道称,这正是演员李亚鹏本人。此外,李亚鹏的经纪人也向新京报证实,此案涉及一个商业合同纠纷,目前正在北京高院的申诉司法程序中。
李亚鹏被列为“被执行人”经纪人回应:不是老赖
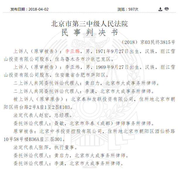
随后,在中国裁判文书网上,每经小编查询到此案的相关信息显示,丽江雪山投资有限公司(简称丽江雪山)与北京泰和友联投资有限公司(泰和友联)的合同纠纷一案,李亚鹏与其兄李亚炜均为丽江雪山的股东。
在2017年1月份,李亚鹏对该案的管辖异议提起上诉,北京市第三中级人民法院驳回其上诉请求。
到2018年3月份,李亚鹏、李亚炜就合同纠纷一案向北京市第三中级人民法院提起上诉。

在一审判决中,泰和友联要求李亚鹏、李亚炜、中书公司连带向泰和友联公司支付欠款4000万元和利息、保全险保费、公告费、诉讼费等费用。
一审法院认定事实如下:
2012年1月9日,雪山公司(甲方)与泰和友联公司(乙方)签订《项目合作框架协议》,约定:双方合作完成”雪山文苑”项目,合作方式为资金合作和项目管理合作,乙方出资6000万元对甲方公司进行注资,并相应获得甲方公司10%的股份。乙方保留其投资总额不超过1.8亿元,股份比例为30%的投资权利。泰和友联公司分别于2012年1月13日、2012年7月10日、2012年7月16日,向雪山公司转账4000万元、600万元、1400万元,共计转账6000万元。
2015年4月17日,李亚鹏等三名被告出具承诺函,不得变相稀释泰和友联公司在雪山公司的10%的股权,承诺原告公司董事会权利,以及雪山公司原股东承诺于2015年7月支付4000万的到期债权,如有困难陆续支付截至同年底。李亚鹏及中书公司提供股权担保。但后泰和友联公司在到期后多次催款一直未给付。
一审法院审理认为,李亚鹏、李亚炜向泰和友联公司出具承诺函,自愿承诺支付4000万,支付期限届满,应该履行承诺。综上,一审法院判决李亚鹏、李亚炜于判决生效后支付4000万元和利息等。
对此,李亚鹏方面认为,该合同中涉及4000万元投资收益的条款无效,泰和友联公司应该举证证明雪山公司有税后盈利4000万,才能获得4000万,而事实上雪山公司并没有营利。股东在公司没有利润的情形下拿走4000万,是抽逃注册资金。遂提起上诉。
北京三中院审理认为,《项目合作框架协议》中涉及4000万元固定权益条款有效。鉴于该条款已被《项目合作框架协议变更协议》解除,并通过《承诺函》及之后李亚鹏签字的《律师函复函》表明,该4000万元的偿付责任由李亚鹏、李亚炜、中书公司承担,故一审法院判决由李亚鹏、李亚炜向泰和友联公司支付4000万元和利息并无不当,法院予以维持。
这一判决也是终审判决,判决日期为2018年3月23日。

尽管被列为“被执行人”,但不意味着李亚鹏已被列入“老赖”行列。因为在中国执行信息公开网上的“失信被执行人信息”和“被限制消费”栏目中并没有李亚鹏的信息。其经纪人也在回应新京报的消息中表示,“失信人”一说子虚乌有,不属实。
旗下一家公司曾被公示为失信公司
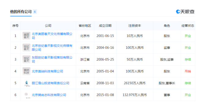
每经小编通过天眼查发现,李亚鹏名下共有6家公司,其中北京喜纳科技有限公司于2009年5月被列为“失信公司”,原因是“其他有履行能力而拒不履行生效法律文书确定义务的”,不过该公司目前经营状态为“吊销”。

其名下的丽江雪山公司注册资本为2.6亿元,李亚鹏任公司董事长,认缴7279万人民币,持股比例27.84%。

其名下公司还包括北京美丽春天文化传播有限公司、北京世纪春天影视文化传媒有限公司、东阳世纪春天影视策划有限公司及北京锦尚志科技有限公司。李亚鹏分别担任监事、董事等职务。

根据天眼查梳理后,李亚鹏所有公司的投资比例情况如下:
