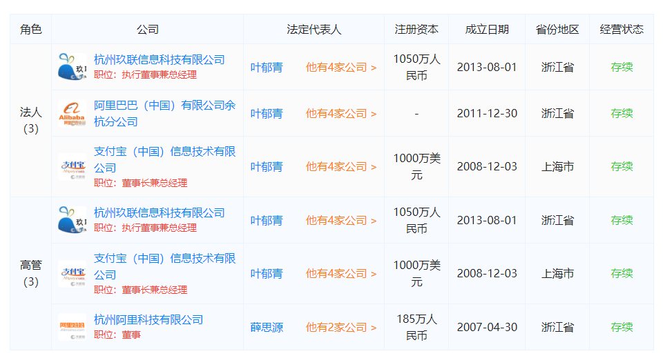
国家企业信用信息公示系统显示,2018年8月29日,支付宝(中国)信息技术有限公司法人发生变更,由马云变更为叶郁青。

据天眼查资料显示,叶郁青目前除了担任支付宝董事长和总经理,还担任杭州玖联信息科技有限公司法人,并于2018年6月新任阿里巴巴(中国)有限公司余杭分公司法人,身兼杭州阿里科技有限公司董事等职务。

企查查资料显示,叶郁青还担任浙江阿里巴巴机器人有限公司董事。